Menu
Close
Parts Finder
Stockist Locator
About
Contact
Find a Part
Find a Stockist
Product Literature
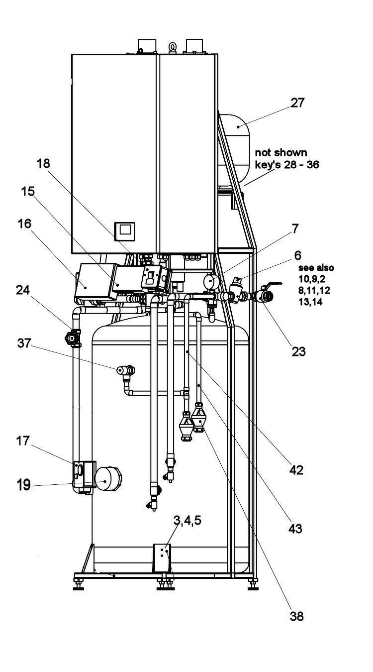
Qspa / Duet
Make
KESTON
Model
QSPA / DUET
UIN: K12.0
K12/A - Qspa / Duet
Search
Key
UIN
Name
Model
Loading...