Menu
Close
Parts Finder
Stockist Locator
About
Contact
Find a Part
Find a Stockist
Product Literature
Hamworthy Wimborn HE
Make
Wimborn
Model
HE
Type
HE
UIN: HH154
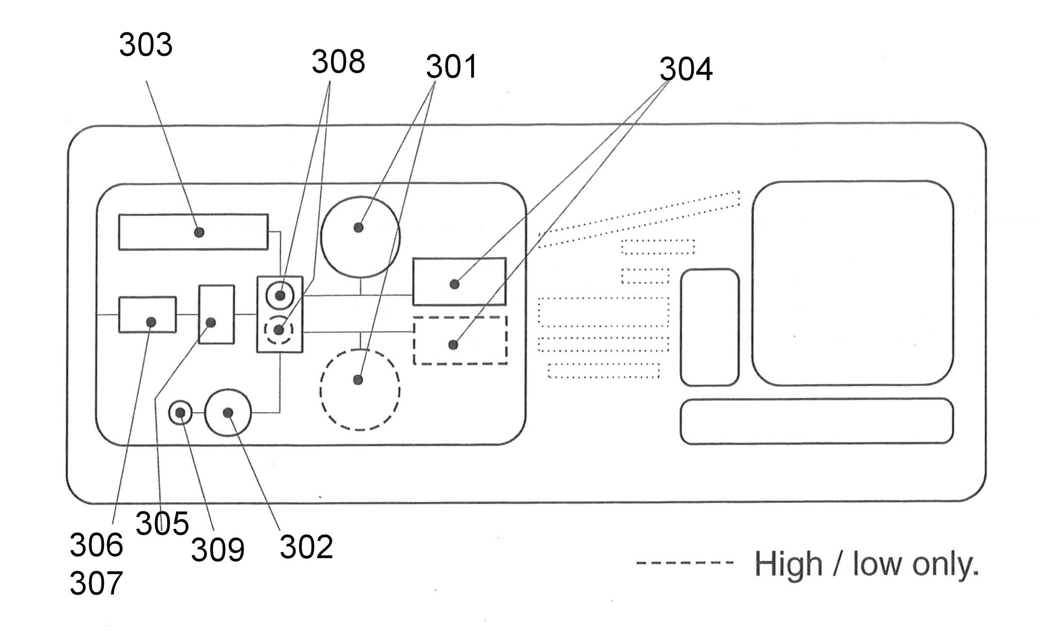
HH154 - Controls
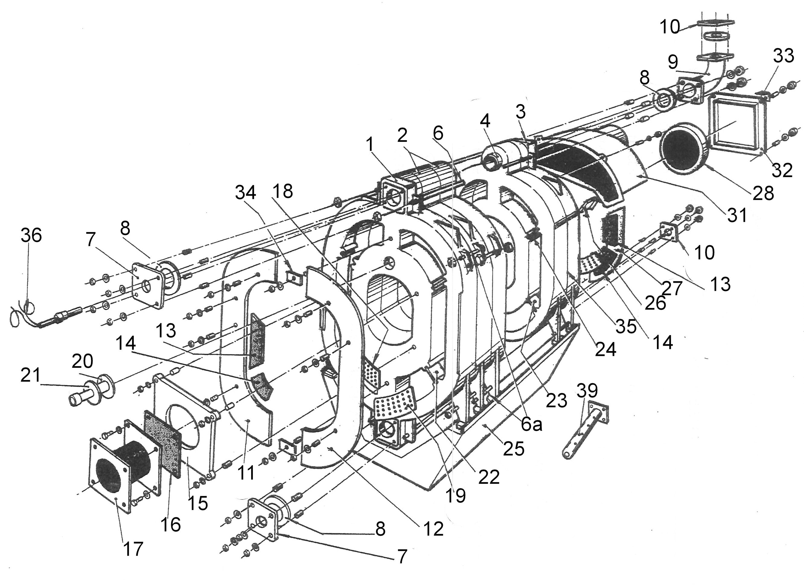
HH154 - Expanded
Search
Key
UIN
Name
Model
Loading...