Click on this button to call us
Click on this button to search

Mexico Super CF140

Make

MEXICO

Model

MEXICO SUPER CF

Type

CF140

UIN: G9.1.1

G9.1/A - Boiler
G9.1/A - Boiler
G9.1/B - Casing
G9.1/B - Casing
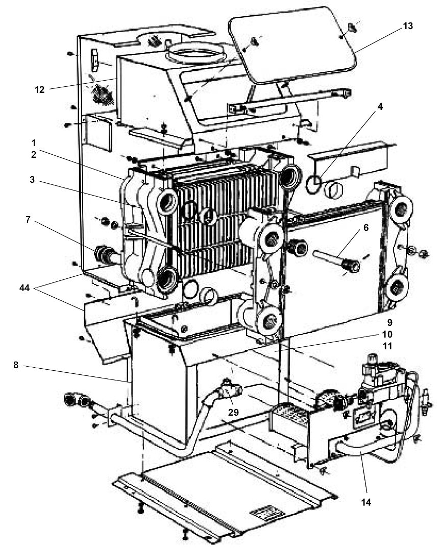
G9.1/C - Boiler Exploded
G9.1/C - Boiler Exploded
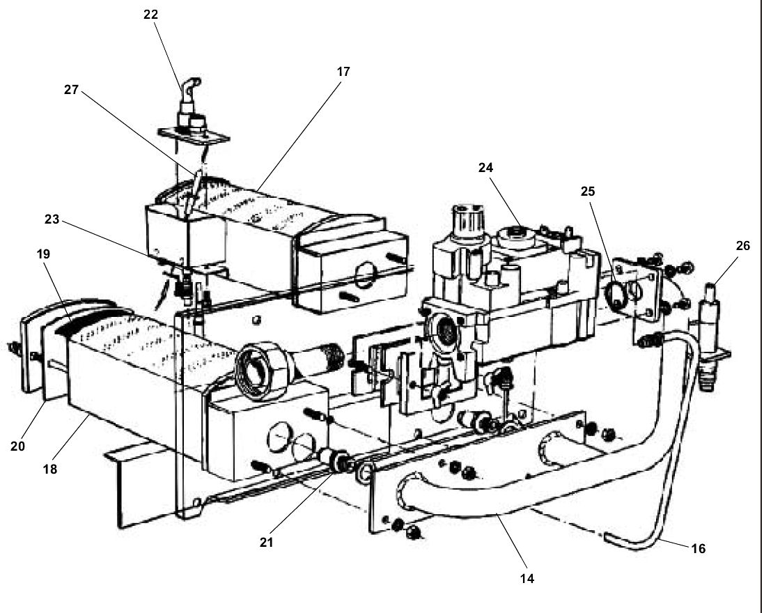
G9.1/D - Burner Conrols
G9.1/D - Burner Conrols
G9.1/E - Controls
G9.1/E - Controls
G9.1/F - Short List
G9.1/F - Short List
KeyUINNameModel
Loading...