Click on this button to call us
Click on this button to search

Mexico Super CF65/75/85/100/125

Make

MEXICO

Model

MEXICO SUPER CF

Type

CF65-125

UIN: G9.0

G9 /A - Casing
G9 /A - Casing
G9 /B - Boiler Exploded
G9 /B - Boiler Exploded
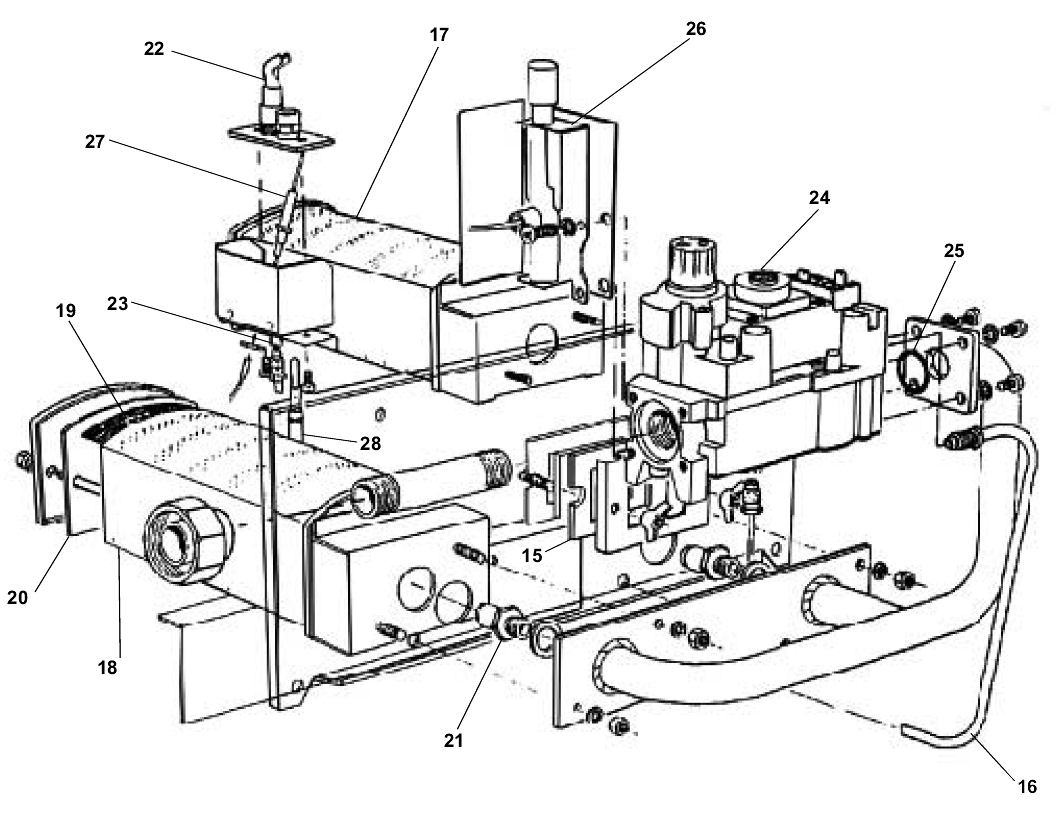
G9 /C - Burner Controls
G9 /C - Burner Controls
G9 /D - Controls Assembly
G9 /D - Controls Assembly
G9 /E - Stat / Controls
G9 /E - Stat / Controls
KeyUINNameModel
Loading...