Click on this button to call us
Click on this button to search

Mexico Slimline CF4 40

Make

MEXICO

Model

SLIMLINE CF4

Type

CF4 40

UIN: G28.0

G28/A - Casing
G28/A - Casing
G28/B - Boiler Exploded
G28/B - Boiler Exploded
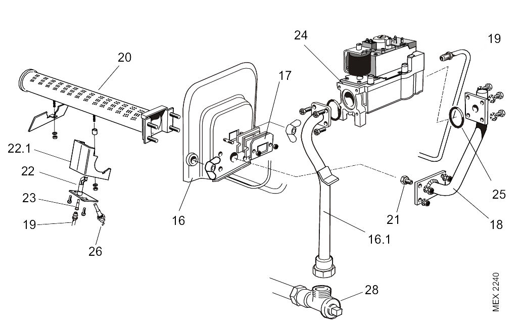
G28/C - Burner Controls
G28/C - Burner Controls
G28/D - Controls
G28/D - Controls
G28/E - PCB Controls
G28/E - PCB Controls
G28/F - Short List
G28/F - Short List
KeyUINNameModel
Loading...