Click on this button to call us
Click on this button to search

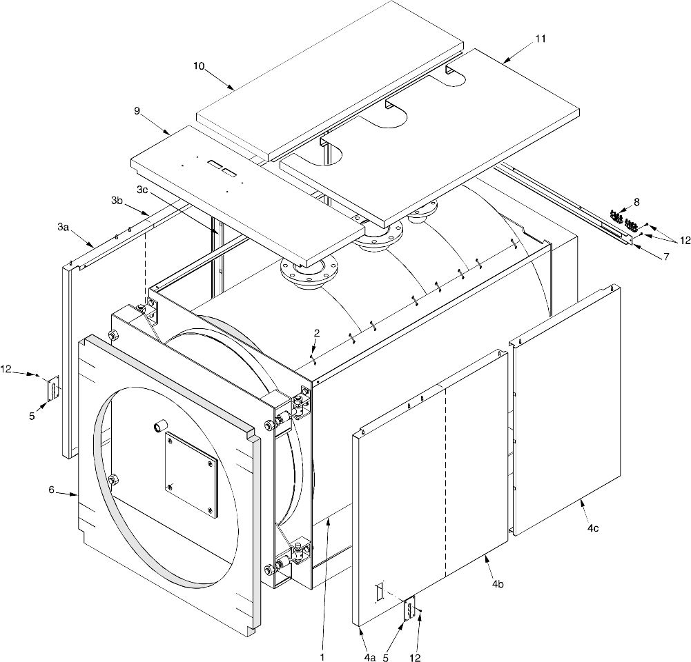
Vanguard L: Shell and Insulation

Make

VANGUARD L

UIN: F35.5

F35.5/1 - Jacket info
F35.5/1 - Jacket info
F35.5/2 - Casing A
F35.5/2 - Casing A
F35.5/3 - Casing B
F35.5/3 - Casing B
KeyUINNameModel
Loading...