Click on this button to call us
Click on this button to search

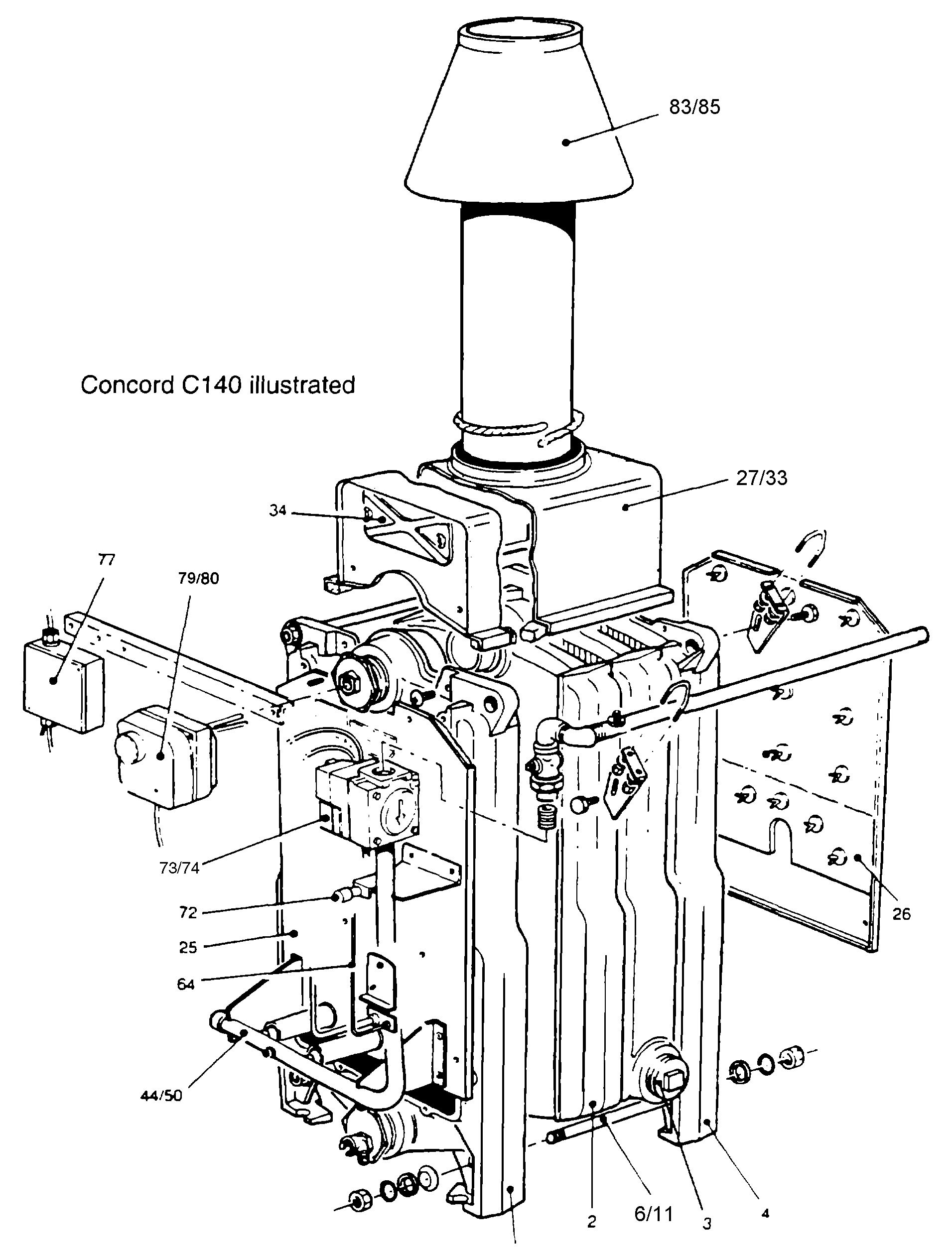
Concord C series 3/3A 140-330

Make

CONCORD

Model

CONCORD C

Type

Series 3/3A

UIN: E3.0

E3/A - Casing
E3/A - Casing
E3/B - Boiler Expanded
E3/B - Boiler Expanded
KeyUINNameModel
Loading...