Click on this button to call us
Click on this button to search

Compact RS30-60

Make

COMPACT

Model

COMPACT

Type

RS30-60

UIN: A35.0

A35/A - Casing - Data Plate: located on back panel
A35/A - Casing - Data Plate: located on back panel
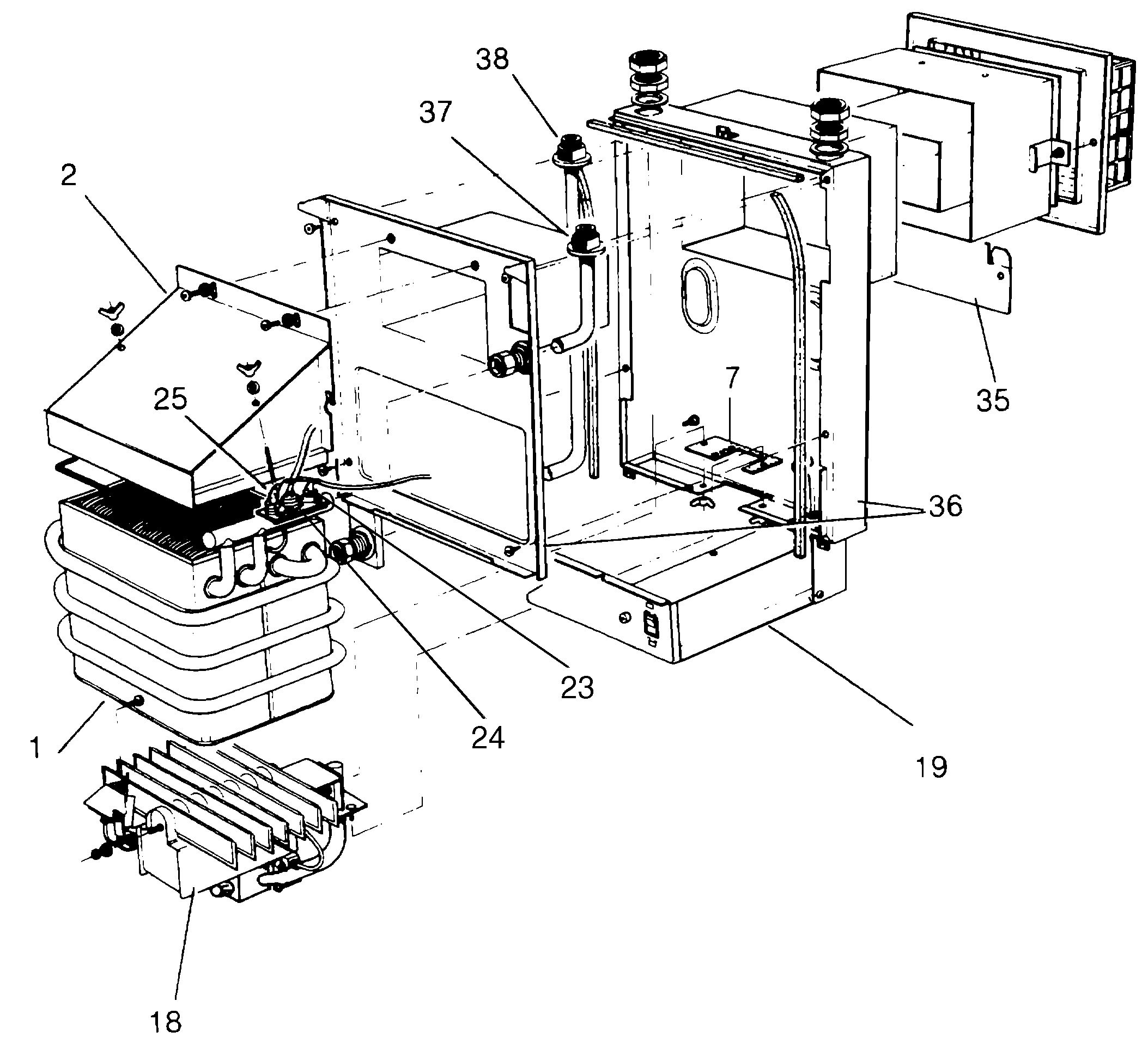
A35/B - Boiler Expanded
A35/B - Boiler Expanded
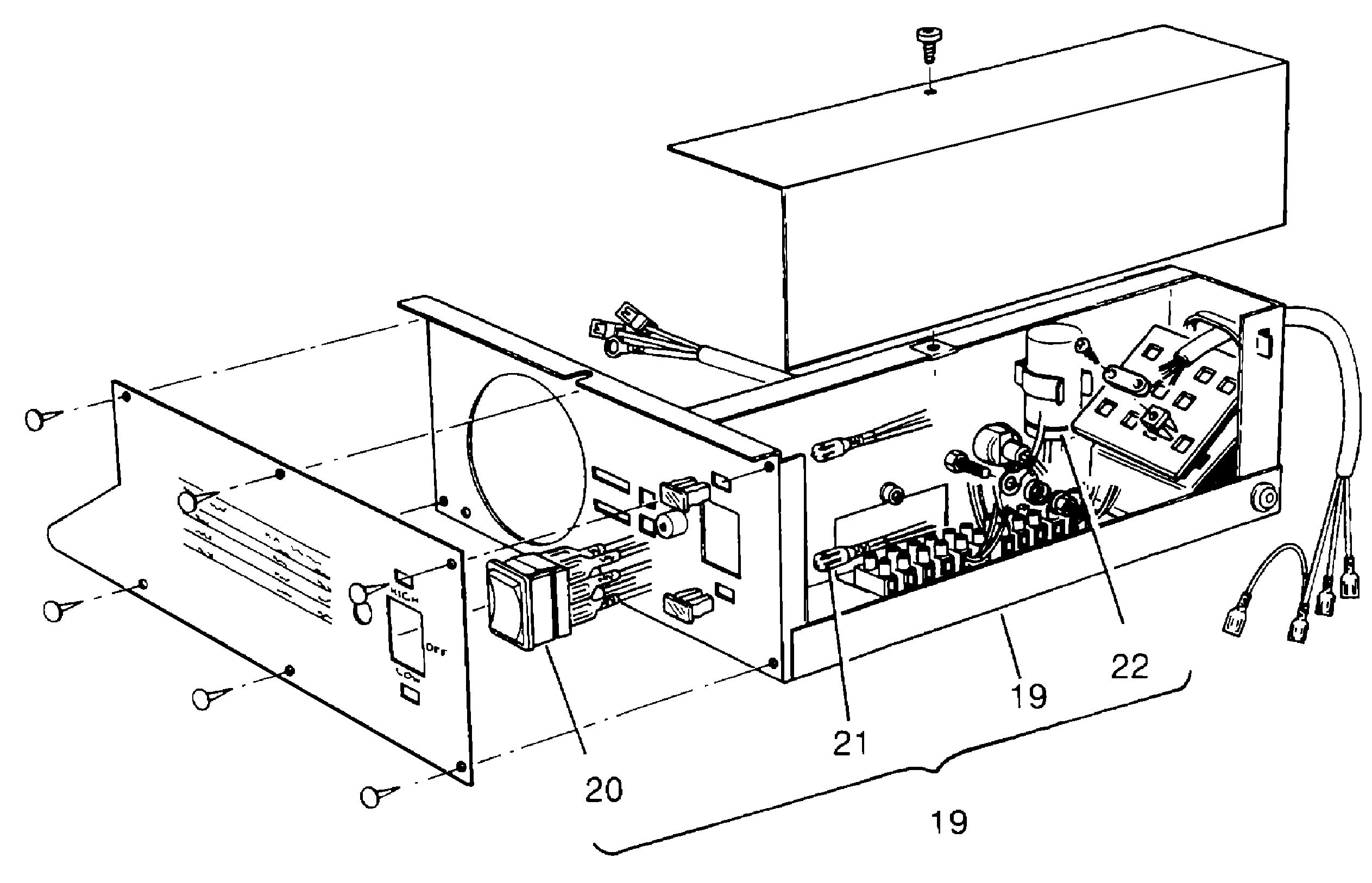
A35/C - Burner & Controls
A35/C - Burner & Controls
A35/D - Controls
A35/D - Controls
A35/E - Short List
A35/E - Short List
KeyUINNameModel
Loading...