Click on this button to call us
Click on this button to search

EVO S 70 WALL HUNG BOILER

Make

EVO S

Type

70

UIN: 219428

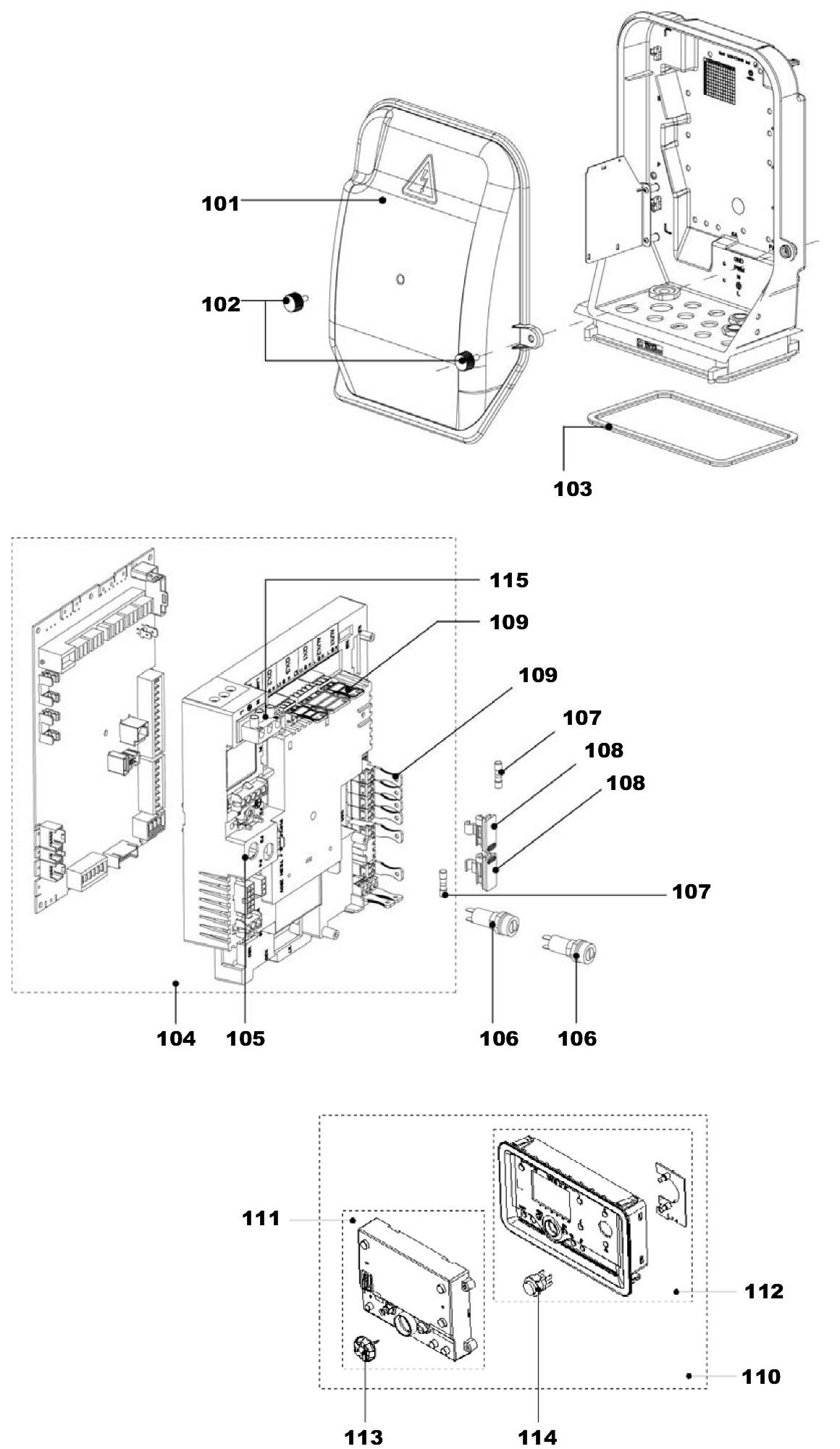
E30-1 Front
E30-1 Front
E30-2 Controls
E30-2 Controls
E30-3 HEX 50
E30-3 HEX 50
E30-4 Hex 70 115
E30-4 Hex 70 115
E30-5 HEX 135
E30-5 HEX 135
KeyUINNameModel
Loading...