Click on this button to call us
Click on this button to search

CLASSIC SE9 RS + O/H

Make

CLASSIC

Model

CLASSIC SE RS

Type

SE9

UIN: 200365

A75/A - Casing
A75/A - Casing
A75/B - Boiler Exploded
A75/B - Boiler Exploded
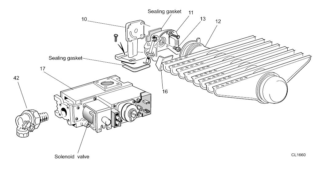
A75/C - Burner Controls
A75/C - Burner Controls
A75/D - Controls
A75/D - Controls
A75/E - Short List
A75/E - Short List
KeyUINNameModel
Loading...