Click on this button to call us
Click on this button to search

CONCORD CXDI 160 BR CPT NG U/ASS

Make

CONCORD

Model

CONCORD CXDI

Type

160

UIN: 155634

E19/A - Casing
E19/A - Casing
E19/B - Boiler Exploded
E19/B - Boiler Exploded
E19/C - Burner Controls 110 160
E19/C - Burner Controls 110 160
E19/D - Burner Controls 180
E19/D - Burner Controls 180
E19/E - Gas Value
E19/E - Gas Value
E19/F - Controls1
E19/F - Controls1
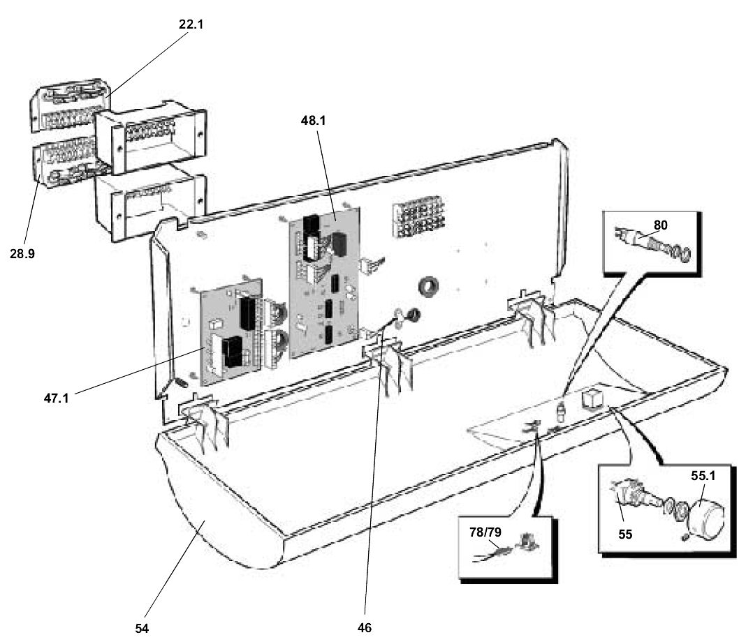
E19/G - Controls2
E19/G - Controls2
KeyUINNameModel
Loading...