Click on this button to call us
Click on this button to search

CONCORD ES-CE 610

Make

CONCORD

Model

CONCORD ES-CE

Type

610

UIN: 139889

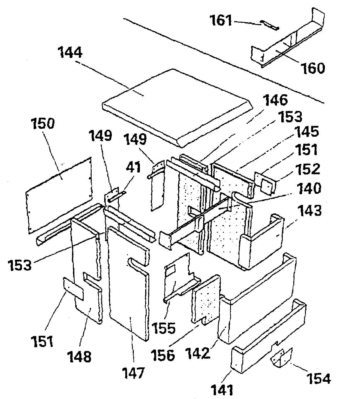
L15/A - Casing
L15/A - Casing
L15/B - Boiler Expanded
L15/B - Boiler Expanded
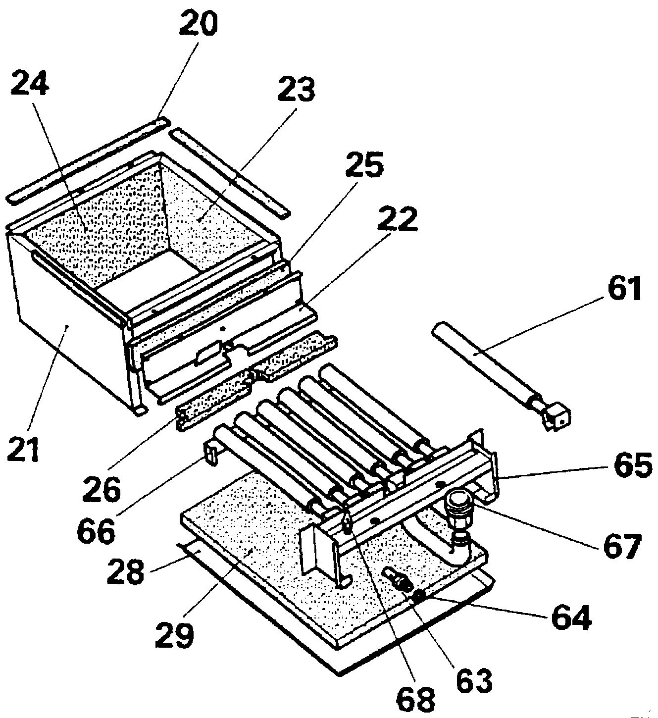
L15/C - Insulation
L15/C - Insulation
L15/D - Burner Controls
L15/D - Burner Controls
L15/E - Gas Line
L15/E - Gas Line
L15/F - Controls
L15/F - Controls
KeyUINNameModel
Loading...