Click on this button to call us
Click on this button to search

VISCOUNT GT24 SPECIAL

Make

VISCOUNT

Model

VISCOUNT GT

Type

GT24

UIN: 139163

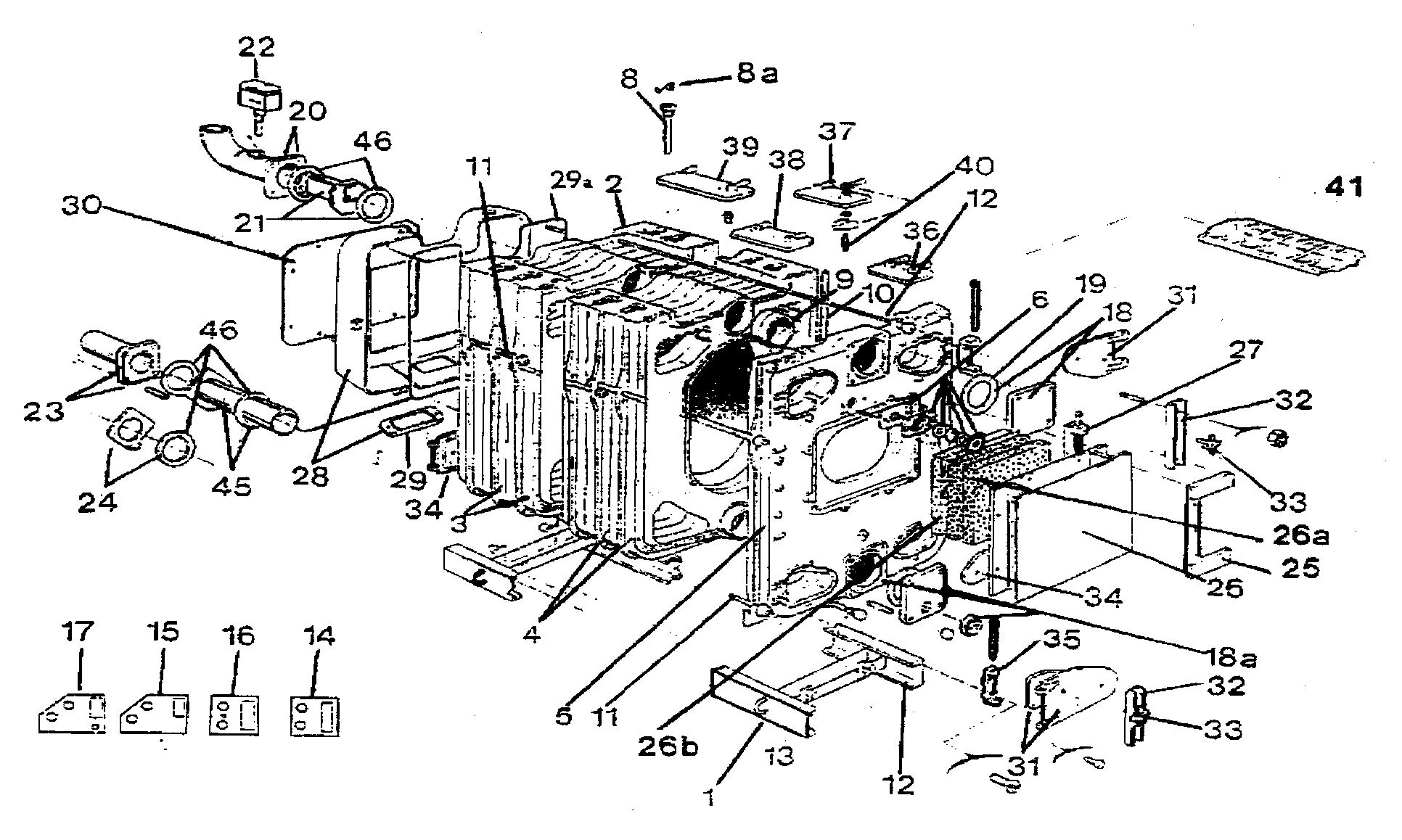
L28/A - Casing
L28/A - Casing
L28/B - Boiler Expanded
L28/B - Boiler Expanded
L28/C - Controls
L28/C - Controls
KeyUINNameModel
Loading...