Click on this button to call us
Click on this button to search

CONCORD CXC44 GAS BOILER NG

Make

CONCORD

Model

CONCORD CXC

Type

44

UIN: 133897

E9/A - Boiler
E9/A - Boiler
E9/B - Casing
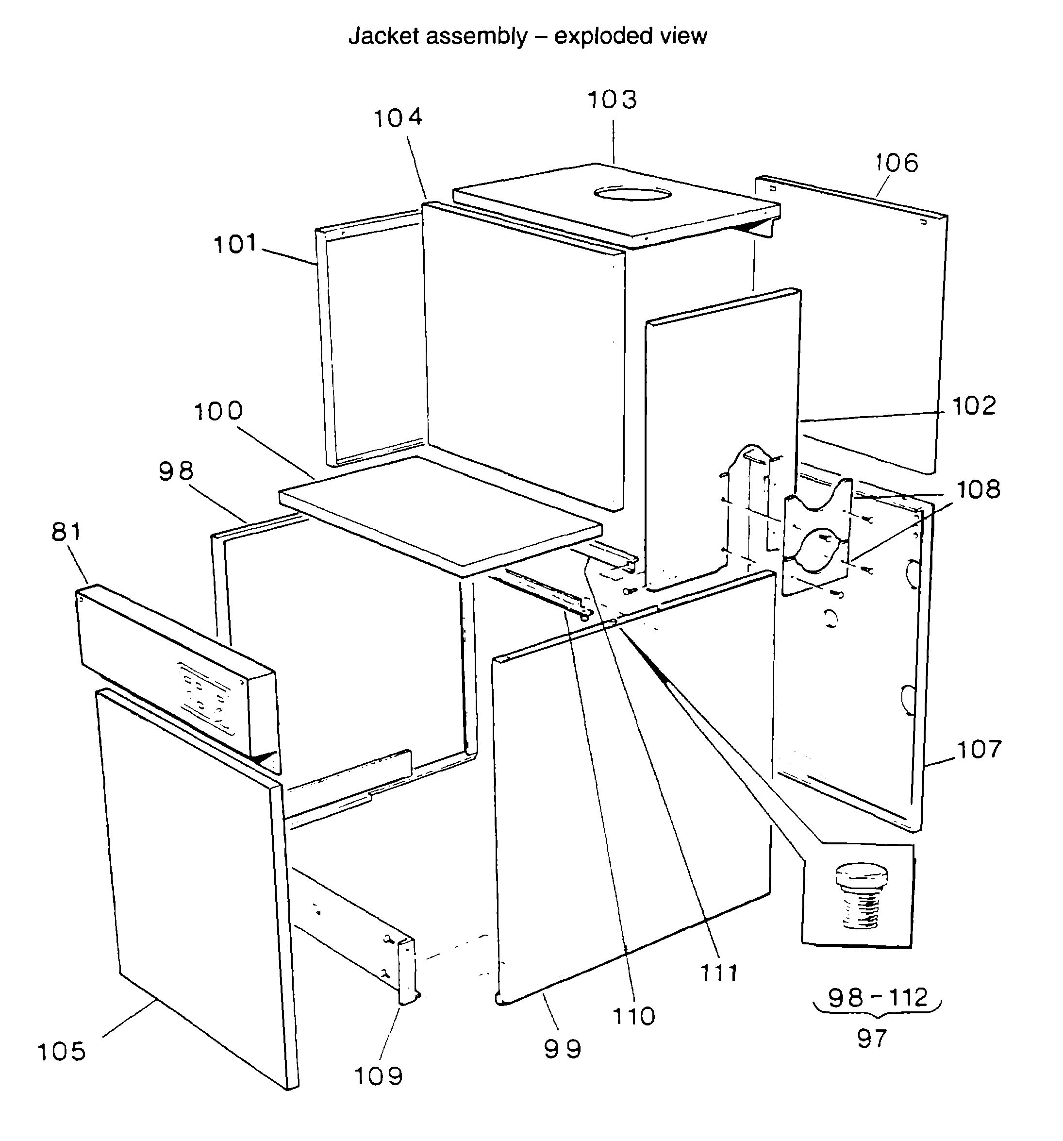
E9/B - Casing
E9/C - Boiler Expanded - CXC 44 & CXC 66
E9/C - Boiler Expanded - CXC 44 & CXC 66
E9/D - Boiler Expanded - CXC 88 & CXC 110
E9/D - Boiler Expanded - CXC 88 & CXC 110
E9/E - Burner Assembly - Furigas CXC 44 & CXC 66
E9/E - Burner Assembly - Furigas CXC 44 & CXC 66
E9/F - Burner Assembly - Furigas CXC 88 & CXC 110
E9/F - Burner Assembly - Furigas CXC 88 & CXC 110
E9/G - Burner Assembly - Worgas CXC 66 & CXC 66
E9/G - Burner Assembly - Worgas CXC 66 & CXC 66
E9/H - Burner Assembly - Worgas CXC 88 & CXC 110
E9/H - Burner Assembly - Worgas CXC 88 & CXC 110
E9/I - Controls
E9/I - Controls
KeyUINNameModel
Loading...