Click on this button to call us
Click on this button to search

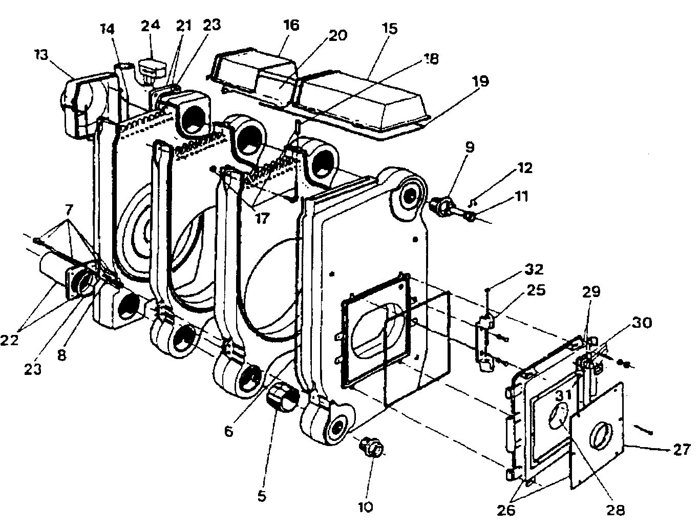
VICEROY E.S. 8 EOGB OIL UNASS

Make

VICEROY

Model

VICEROY ES

Type

ES8

UIN: 110718

L11/A - Casing
L11/A - Casing
L11/B - Boiler Expanded
L11/B - Boiler Expanded
L11/C - Controls
L11/C - Controls
KeyUINNameModel
Loading...